Mitchel Broussard
Mitchel Broussard's Articles

Foxconn to Cut Workforce as Apple Expected to Announce Record-Breaking iPhone Sales [Updated]

Point-of-Sale Suppliers See Massive Increase in Retailer Interest Following Apple Pay Launch

Rumored 'iPad Pro' and Companion Stylus Imagined in New Renderings

Apple's AuthenTec Acquisition Left Nexus 6 Without a Fingerprint Sensor

Apple Likely Sold More iPhones in China Than in the U.S. Last Quarter

Apple's OS X 10.10.2 to Fix Security Vulnerabilities Exposed by Google's Project Zero

Apple's iTunes Radio, Beats, and Others Hit With Unpaid Royalty Suits Over Pre-1972 Music

Tetris-Like Puzzle Game 'Shades' Named Apple's Free App of the Week

'Marco Polo' App for Finding Misplaced iOS Devices Updated With Custom Responses and More

Spotify for iOS Adding Streamlined 'Touch Preview' Controls After Record-Breaking 2014

Amazon Ends Wallet App Beta Program, but Still No Sign of Apple Pay Loyalty Rewards Program

Dropbox Acquires Document Editing Service CloudOn

Chrome for iOS Updated With Handoff Support, Material Design, iPhone 6 Optimization

Apple Increasing Lobbying Presence in Washington, D.C. Under Tim Cook

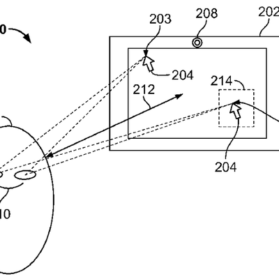
Apple Patents Eye-Tracking Software Feature for Possible Use on Mac and iOS

Facebook Begins Small-Scale Testing of Voice-to-Text Conversations in Messenger

Google's New Calendar App for iOS Shown in Leaked Images

Designers Envision Concepts for Apple Watch Apps Like Uber and Instagram

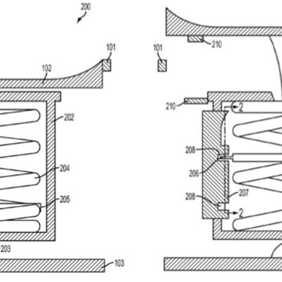
iPhone Home Button That Transforms Into Gaming Joystick Shown in Apple Patent Application

















