Apple Store
By MacRumors Staff
Apple Store Articles

Apple Stores Will Now Decline to Repair iPhones Reported as Missing
Apple Stores and Apple Authorized Service Providers will now be alerted if an iPhone has been reported as missing in the GSMA Device Registry when a customer brings in the device to be serviced, according to an internal memo obtained by MacRumors.
If an Apple technician sees a message in their internal MobileGenius or GSX systems indicating that the device has been reported as missing, they...
Read Full Article 96 comments

Flagship Apple Store in Toronto in Jeopardy Due to Legal Battle
Over a decade has passed since rumors first surfaced about Apple's interest in opening a flagship retail store at one of Canada's busiest intersections, but the plans might be abandoned due to a legal battle between Apple and a real estate developer.
The Globe and Mail this week reported that Apple has sued Mizrahi Developments to terminate its lease at the developer's long-planned...

Mac Studio and Studio Display Now Available for Same-Day Pickup at Select Apple Stores
Every product that Apple announced at its "Peek Performance" event is now available for same-day pickup at select Apple Stores in the United States, including the Mac Studio, Studio Display, new iPhone SE, new iPad Air, and green iPhone 13 models.
The two standard configurations of the Mac Studio with an M1 Max chip for $1,999 or an M1 Ultra chip for $3,999 are available for pickup at some...

Apple Dropping Mask Mandates for Retail and Corporate Employees
Apple is planning to drop its mask requirements for retail and corporate employees in the United States due to a decline in Covid-19 cases and a relaxation of local mandates, reports Bloomberg.
For vaccinated corporate employees, masks are now optional in regions where local indoor mask mandates have ended. Retail staff in a small number of locations have also been informed that masks will...

Apple Previews Al Maryah Island Store Opening This Friday in Abu Dhabi
Apple has previewed Apple Al Maryah Island, a new retail store from the company in Abu Dhabi's financial district that is set to open this Friday.
Elevated above steps of cascading water, Apple Al Maryah Island introduces several new store design elements that are reflective of its surroundings. "Absolute Black" granite stone has been used to pave two ramps that cut through the water and...

Apple Issues Statement Following Resolved Hostage Situation At Amsterdam Store
Apple has praised Dutch police as well as customers and staff at an Amsterdam store where a hostage situation yesterday came to a close with no injuries to the public and the suspect detained in custody.
In a statement obtained by TechCrunch, Apple said that all employees and customers are safe after the "terrifying experience" at Apple Amsterdam in Leidseplein on Tuesday.
"We want to thank ...

Apple Ending Mask Mandates in Many Stores, Plans to Reintroduce In-Person Classes
Apple is no longer requiring customers to wear masks when visiting Apple Stores in many locations across the United States, reports Bloomberg. Apple has dropped mask mandates following changes in local guidelines and a reduction in COVID-19 cases.
Employees have been informed of the mask updates, and Apple has also updated its website to provide details on which locations are no longer...

Hostage Situation Reported at Apple Store in Amsterdam [Updated]
Police officers are surrounding Apple Amsterdam in Leidseplein following reports that a gunman entered the store. A video shared on Twitter showed a man in a balaclava holding a gun while gripping a possible hostage, and Amsterdam police have confirmed that there is indeed a hostage situation.
People in surrounding buildings have been ordered to stay indoors, and the area around the store...

Some Apple Store Employees in U.S. Reportedly Working to Unionize
The Washington Post today reports that employees at some Apple retail stores in the U.S. are quietly working to unionize.
The report claims that groups of employees working for at least two stores are preparing to file paperwork with the National Labor Relations Board in the near future, and at least a half dozen more locations are said to be in earlier stages of the unionization process....

Apple Giving Many U.S. Retail Employees Raises
Apple is giving many of its U.S. retail employees raises ranging from two percent to 10 percent depending on location, reports Bloomberg. Salespeople, Genius Bar support staff, and some senior hourly workers are being granted pay increases.
Apple is said to be boosting the pay of its retail employees because of inflation, the difficult labor market, and staff complaints about working...

Apple Attracting Retail Workers With Improved Benefits
Apple is introducing improved benefits for its retail employees in order to attract and retain workers in the current labor market, reports Bloomberg.
Updated benefits are applicable to both full time and part time employees, with Apple now offering 12 paid sick days, up from six. Sick days can be used for mental health leave, illnesses, or taking family members to the doctor.
Apple is...

Apple Outlines $30M Bag Check Lawsuit Settlement on Legal Website
Apple in November settled a long-running lawsuit over employee bag checks, with the Cupertino company agreeing to pay $29.9 million to employees who were subjected to off-the-clock bag searches, and now details about the settlement are available on Apple's website.
California employees first sued Apple in 2013, and in 2015, the case escalated into a class action lawsuit. Employees claimed...

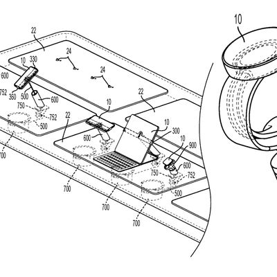
Apple Stores Could Stop Thieves With New Security Measures
Apple is exploring new security measures for Apple retail stores in an attempt to discourage and prevent smash-and-grab robberies.
In a patent titled "Product-Display System" filed with the United States Patent and Trademark Office, spotted by Patently Apple, Apple details a number of mechanical systems for securing iPhones, iPads, and Apple Watches.
The proposal effectively involves...

Apple to Offer Limited-Edition AirTag as Part of Japanese New Year Promotion
In celebration of the Japanese New Year, Apple has revealed a two-day promotion that will offer customers in Japan a free Apple gift card worth up to ¥24,000 with the purchase of an eligible Apple product on January 2 and January 3.
In addition to a gift card, Apple said the first 20,000 customers in Japan who purchase a new iPhone 12, iPhone 12 mini, or iPhone SE during the promotion will...

Apple Store Closures Surpass 20 Today Across the U.S. as COVID Cases Rise [Updated]
As COVID-19 cases continue to rise, the number of Apple retail stores in the U.S. that are temporarily closed today has surpassed 20. Not all of the closures are related to the virus, with five stores closed in Washington state following inclement weather.
The latest high-profile locations to be shut for business include Apple Carnegie Library in Washington, D.C., Apple Century City in Los...

Apple Offers Free Two-Hour Holiday Delivery on Mac, iPhone, iPad, and Apple Watch Orders
Apple is offering customers free two-hour delivery on orders of Macs, iPhones, iPads, and Apple Watch orders in select cities ahead of the holiday season, looking to make it more convenient for customers to purchase last-minute gifts.
The new offer, which runs from December 22 until December 24, gives customers the option to receive their order on a wide range of Apple products within a...

Apple Once Again Requiring Masks at All U.S. Retail Stores
Apple retail stores are implementing stricter COVID measures, once again requiring customers to wear masks in all locations in the United States and enacting social distancing rules in some locations that had been eliminated earlier this year.
Apple in November dropped its masking requirements for customers in many U.S. states due to positive trends in vaccinations and declining COVID-19...

Apple Stores Getting Tool for Updating AirPods Pro to Latest Firmware Version
Starting early next week, Apple Stores and Apple Authorized Service Providers will gain access to a new AirPods Firmware Updater diagnostic tool for updating AirPods Pro to the latest firmware, according to an internal memo obtained by MacRumors.
The tool will allow technicians with access to Apple Service Toolkit 2 to download the latest firmware on a customer's AirPods Pro during repair...

Berlin's Second Apple Store Opening on Thursday
Apple's newest store in Berlin, Germany is set to open on Thursday, December 2, Apple announced today. Apple Rosenthaler Straße is the first Apple Store in the Mitte borough of Berlin, and it joins Apple Kurfürstendamm in the city.
"We're excited to open our second store in Berlin, right in the heart of Mitte," said Deirdre O'Brien, Apple's senior vice president of Retail + People. "Blending...

Apple Supports World AIDS Day With Red Logo at Stores and Apple Pay Promotion
In what has become an annual tradition, select Apple Store locations are now displaying a red Apple logo in support of World AIDS Day on December 1, such as Apple Nanjing East in Shanghai and Apple Ginza in Tokyo, with other locations likely to follow.
Photo shared by Shanghai Daily via Storeller
Apple has also announced that, now through December 6, it will donate $1 for every purchase made...















