Mitchel Broussard
Mitchel Broussard's Articles

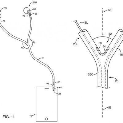
Earphones That Detect Sharing by Multiple Users Proposed in Apple Patent

Typo's Smartphone Keyboard Business Comes to an End Following BlackBerry Lawsuits

iOS Text Bug Also Affects Twitter, Snapchat, WhatsApp and Other Apps

Force Touch Now Planned for Both 'iPhone 6s' Display Sizes

Fox Debuts 'Movie of the Day!' App With Daily Discounts on iTunes Movies

iOS 9 to Feature Force Touch With Haptic Feedback, New Keyboard and Group Read Receipts

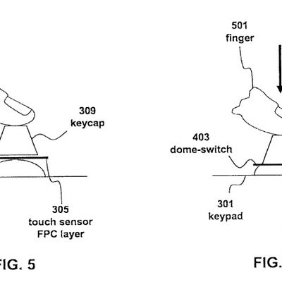
Apple Patents Hybrid Keyboard With Touch-Sensitive Mechanical Keys

Apple Watch Orders Estimated to Average 30,000 Per Day in U.S. After Initial Surge

Despite Popular Kickstarter, Pebble Seeks $5 Million Loan 'To Stay Afloat'

iPhone 5c With Touch ID on Apple's Website Fuels Unlikely Refresh Rumors

Apple Rejects 'Breaking' App Due to One Small Mention of Android in a Screenshot

Gene Munster Faces the Prospect of No Apple Television Set

Apple Releases New 15-Inch MacBook Pro With Force Touch and $1,999 27-Inch iMac With Retina Display

Decision in Apple v. Samsung Appeal Lowers Apple's Damages Award

Tim Cook Reflects on His Early Years and Steve Jobs in George Washington University Commencement Speech

New 15-inch MacBook Pro and 27-inch iMac Expected to Launch This Wednesday

Universal Releases First Trailer for 'Steve Jobs' Movie

Oculus Rift Development on OS X 'Paused' to Focus on Strong Windows Launch

Apple Watch Production Back on Track After 'Labor Shortages' Caused Initial Delays

















