
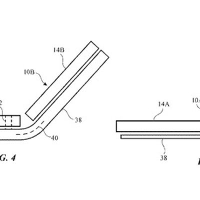
Apple Patents Tech That Could Solve The Biggest Issue With Current Foldable Devices

Deals: Woot Discounts Refurbished Apple Watch Series 1 Models to $110, Series 2 Starting at $145
RSS Reader NetNewsWire 5 Released for iPhone and iPad

Facebook Testing Cross-Posting Stories to Instagram

Deals: Tile's New Limited Time Sale Offers Big Savings on Mate, Slim, and Sticker Bluetooth Trackers

Spotify Updates Mobile and Tablet Apps With New Home Screen for Quicker Access to Favorites

Apple Sold 60 Percent Fewer iPhones in China Last Month Compared to February 2019 Amid Coronavirus Restrictions

OPPO Introduces the Apple Watch… Wait
How to Switch From Facetime Video to Facetime Audio

Sonos Eliminates Unpopular 'Recycle Mode' That Bricked Older Hardware

Apple Renews 'Truth Be Told' Series for a Second Season

GM Introducing Wireless CarPlay in Select 2021 Vehicles, Including Trailblazer, Yukon, and Bolt

Apple Says iCloud and iMessage Experiencing Slowness

WhatsApp Testing Secure Chat Backups Feature

How to Enable WhatsApp's Dark Mode for iPhone













