Apple's granted patents and patent applications over the last couple of months have revealed a significant interest in camera lens systems that attach to the iPhone's existing camera, enhancing its photo taking capabilities much like third-party lens attachment solutions from companies like Olloclip.
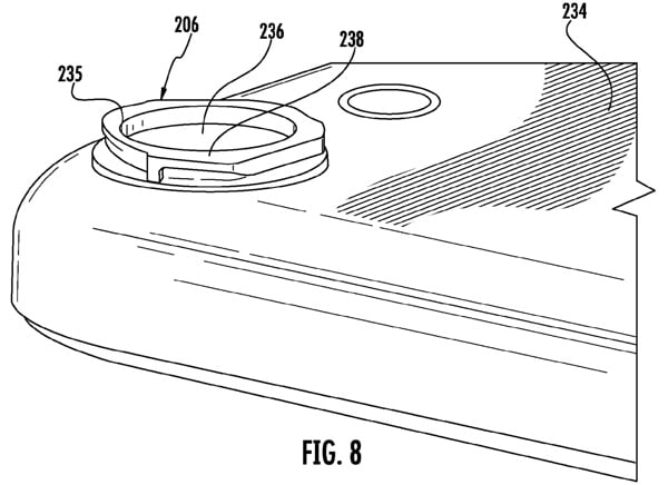
In a newly published patent application (via Patently Apple), Apple explores a bayonet lens attachment mechanism to fix a separate lens to an iPhone. Bayonet is a type of pin-based of lens mount that is designed to precisely align the mechanical and electrical features between a lens and a body in a traditional camera, preventing the components from rotating.
According to Apple, this attachment method is superior to other solutions such as a separate case that lenses can be mounted to or a magnetic attachment system that may not be strong enough to keep a lens attached while in motion. Apple describes both a case and a magnetic mount as "undesirable" and "unsightly."

The application explains in detail how a lens can be mounted to an iPhone or other device through a bayonet attachment, with the iPhone or other device possessing a cavity that the can attach to a lens and the bayonets being located around the aperture of the lens. It also describes quick release methods, should a device with a lens attached by dropped or otherwise damaged.
Attachment mechanisms are provided. The attachment mechanisms may be configured to couple accessory devices, such as lens devices to an electronic device. For example, a lens may be coupled to the exterior of an electronic device with first and second attachment mechanisms.
While there are a range of third-party add-on lenses for the iPhone and the iPad, none of the available solutions are able to use an attachment method as Apple describes due to the fact that such a system would have to be manufactured directly into the iPhone. Instead, they use magnets, cases, or other less than ideal attachment solutions that would be unable to compete with a native solution from Apple, should the company choose to pursue camera enhancements in the form of lens attachments.

Apple has also explored other attachment methods in recent years, including a magnetic lens attachment system that was detailed in a patent granted in January and a similar lens attachment system that worked with a removable back panel used to swap in different lenses, unveiled in 2012.






















