
Apple Supplier Japan Display Creating Flexible LCD Panels for Use in Future iPhones

Jawbone Leaves Users in the Lurch as Customer Support Goes Silent

Apple Offers More Details About Upcoming App Store Review Policy Changes

Developers Able to Respond to Customer Reviews in iOS 10.3 and macOS Sierra 10.12.4 [Updated]

Apple Seeds First Beta of tvOS 10.2 to Developers

The Pokémon Company Releases New 'Pokémon Duel' Strategy Game for iOS

Gamevice Reveals New and Improved Gaming Controllers for iPhone 7, iPad Pro, iPad Air, and iPad mini

Robotics and Machine Learning Expert Yoky Matsuoka Returning to Nest After Leaving Apple

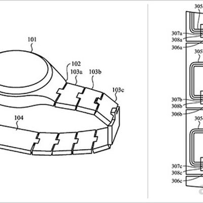
Modular Band Links Could Expand Functionality of Future Apple Watches

Record Chip Profits Boost Samsung's Fourth Quarter Earnings

WhatsApp 2.17.1 Ups Bulk Media Message Limit, Adds Offline Message Queueing and Storage Management

Pokémon Go Makes a Late Debut in South Korea

Apple Finally Releases New Apple Watch Update, watchOS 3.1.3

Apple Releases tvOS 10.1.1 for Fourth-Generation Apple TV

Sprint Buys 33% of Jay Z's Streaming Music Service Tidal, Plans Exclusives for Customers

Hugo Barra Leaving Xiaomi and Returning to Silicon Valley Next Month

Apple Selects Wistron as First India-Based Supplier of the 2017 iPhone

















