
Pandora Rebrands Mobile App Ahead of On-Demand Music Service Launch

Samsung's Note 7 Discontinuation Poised to Cost Company $2.3 Billion

Dropbox for iOS Gains PDF Signing Tool, Messages Integration and Picture-in-Picture Support

Mattress Startup Casper Now Accepts Apple Pay on the Web

Review: Sennheiser's PXC 550 Wireless Headphones Should Put Bose on Notice

Netatmo's HomeKit-Enabled 'Healthy Home Coach' Tracks Air Quality and More

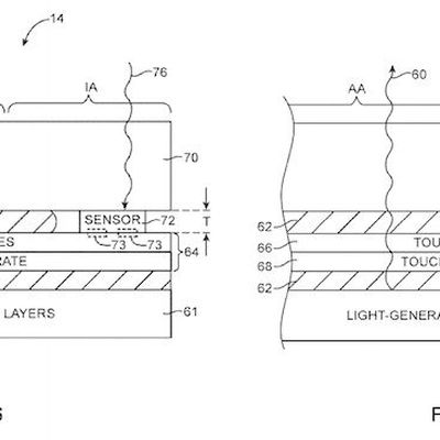
Apple Patent Integrates Ambient Light Sensor Directly Into iPhone's Display

Yahoo Mail Users Trying to Leave Service Faced With 'Temporarily Disabled' Email Forwarding [Update: Re-enabled]

Apple Puts Official iOS 10 Adoption Rate Figure at 54%

Facebook Launches New Team Collaboration Tool Called 'Workplace'

New Snapchat Update Replaces Auto Advance With Story Playlists

Apple Seeds Third Beta of tvOS 10.0.1 to Developers

Olloclip Debuts New Photo Lenses for iPhone 7 and iPhone 7 Plus

Apple Watch Banned From U.K. Government Cabinet Meetings Over Hacking Fears

Apple Maps Transit Data for Australia Extends to Melbourne, Victoria

Android Wear Smartwatch Owners Reporting Pairing Issues With iPhone 7

Facebook Launches Standalone Calendar-Based 'Events' App

















