
Target Sale Marks $150 Off 9.7-Inch and 12.9-Inch iPad Pro Models

TouchArcade Shares the Top 100 Mobile Games of 2016

Uber Explains Why its App Appears to Track Users Days or Even Weeks After a Ride

Leaked Documents Reveal What Kind of Data Cellebrite Can Extract From iPhones

Apple Shares Promo Videos for George R. R. Martin's 'A Song of Ice and Fire' Enhanced iBooks Exclusives

'App Santa' Offers Discounts of Up to 80% Off Popular iOS and Mac Apps

Apple Names Best-Selling Holiday Movies of All Time on iTunes, Including 'Elf' and 'The Polar Express'

AirPods User Creates Charging Cradle With 3D Printer

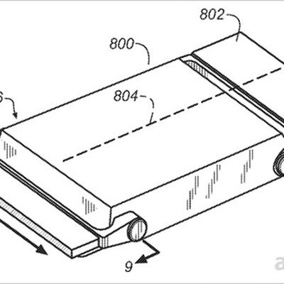
Haptic Feedback Wrist Band Could Make for Thinner Apple Watch

Atari Releases 'RollerCoaster Tycoon Classic' for iOS

MacRumors Giveaway: Win a Copy of djay Pro for iPhone From Algoriddim

Apple Releases Second iOS 10.2.1 Beta for Public Beta Testers

iOS 10.2 Fixes Two Issues With 'Made for iPhone' Hearing Aids

Apple Seeds First Beta of watchOS 3.1.3 to Developers

Uber Update Lets You Set a Friend's Location as a Ride Destination

2017 Honda CR-V With CarPlay Launches Today

Algoriddim Brings 'djay Pro' to the iPhone

















